自由,是每个人内心最深处的向往。而在数字时代,财富的自由掌控更是成为了现代人的追求。TP钱包作为一款安全可靠、功能强大的数字资产管理工具,为用户提供了极致的自由体验。
灵活配置权限,保障资产安全

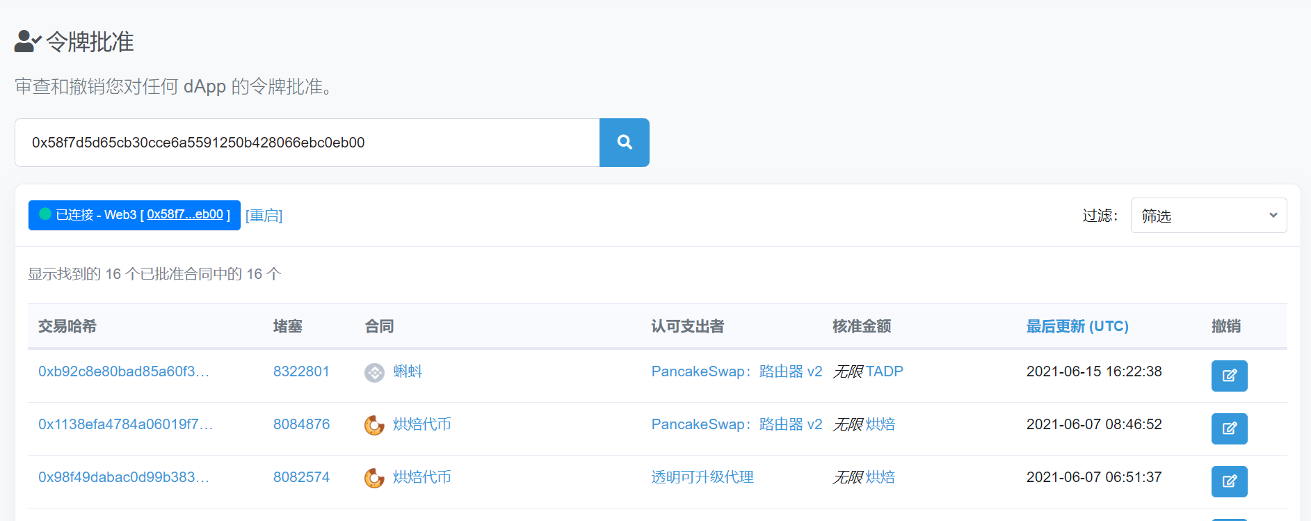
在TP钱包中,权限设置是保障用户资产安全的重要一环。通过灵活配置权限,用户可以根据自己的需求和风险承受能力,对不同功能和操作进行精细化管理。

首先,TP钱包支持多种身份验证方式,如密码、指纹和面部识别等。用户可以根据个人喜好和使用场景选择适合自己的身份验证方式,确保只有授权人才能进行敏感操作。

其次,在权限设置中,用户可以对转账、收款、合约交互等功能进行细致划分。比如,用户可以设定转账时需要输入二次密码或指纹验证,有效防止误操作或被他人盗取资产。

此外,在TP钱包中还有智能合约权限设置,用户可以根据自己的需求,为合约设置不同的权限等级,确保合约的安全运行和资产的有效保护。
便捷操作,畅享数字时代
除了安全性,TP钱包还致力于提供便捷高效的操作体验。用户可以根据自己的需求和使用习惯,在权限设置中进行个性化配置,让。
tokenpocket最新版:https://ecnuzizhu.com/sjrj/1780.html