tp钱包授权管理-数字资产保卫战:TP钱包,你身边的最强保护神

5G系统之家

大家好,我是TP钱包的授权管理者。作为一个经验丰富的数字资产持有者,我深知保护个人财富的重要性。在这个数字时代,我们需要一种安全可靠的方式来管理我们的数字资产,而TP钱包正是你的最佳选择。

一、智能合约授权保护

钱包授权码_tp钱包授权管理_钱包授权是什么意思

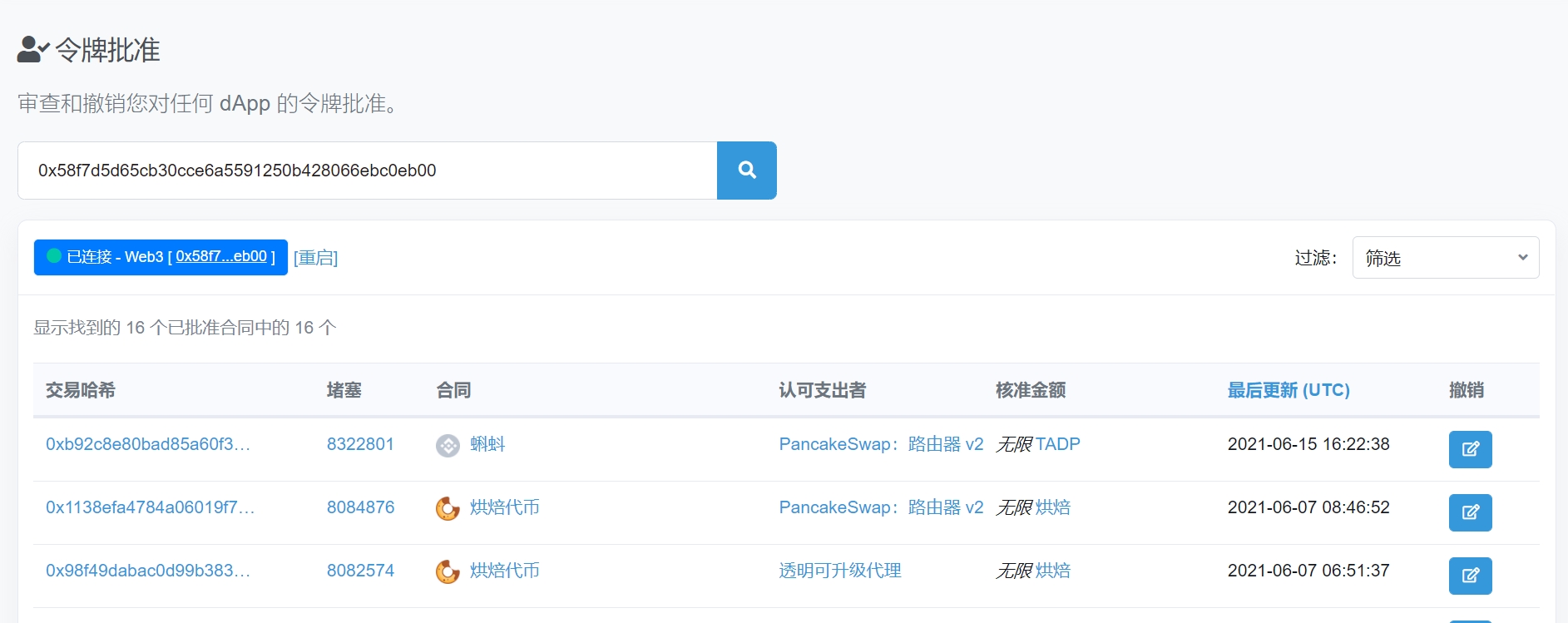
在数字资产交易中,智能合约是一种重要的工具。然而,智能合约也存在一些风险,比如合约被恶意篡改或被未经授权的人访问。为了解决这些问题,TP钱包推出了智能合约授权保护功能。

钱包授权是什么意思_钱包授权码_tp钱包授权管理

通过TP钱包的智能合约授权保护功能,你可以轻松地为你的合约设定访问权限。只有经过你授权的人才能查看和修改你的合约内容,确保了合约的安全性和私密性。此外,TP钱包还提供了实时监控功能,及时发现任何异常行为,并采取相应措施。

二、多层次身份验证

除了智能合约授权保护外,TP钱包还提供了多层次身份验证功能。在数字资产管理过程中,我们经常需要进行一些重要操作,比如转账或签署合约。为了确保这些操作的安全性,TP钱包引入了多层次身份验证。

钱包授权码_tp钱包授权管理_钱包授权是什么意思

在TP钱包中,你可以设置多种身份验证方式,比如指纹识别、面部识别或密码等。每次进行重要操作时,系统会随机选择一种身份验证方式,并要求你进行验证。

telegeram官网版下载:https://ecnuzizhu.com/sjrj/2398.html